ЭкоТермент.Логотип
ЭкоТермент. Логотип
+375 17 33 66 333
+375 17 33 60 613

Рельсовая вытяжная система «KUA-R»

 
Вытяжная система KUA-R
Назначение

Рельсовая вытяжная система предназначена для совместной работы с вытяжным устройством «KUA-H» или «KUA-M-H/SP», позволяя последнему, смонтированному на подвижной каретке системы, перемещаться по рельсу-воздуховоду и достигать рабочие места, находящиеся на протяженном участке цеха, улавливая различные виды дыма и пыли, а также т.п. вредных веществ.

Вытяжная система эксплуатируется в составе системы вытяжной вентиляции. Температура перемещаемой воздушной среды не должна превышать +70 град С.

Функционирование

Подвижная каретка рельсовой системы KUA-RВытяжное устройство, установленное на подвижной каретке, перемещается по рельсу-воздуховоду. При этом загрязненный воздух проходя через вытяжное устройство попадает в рельс-воздуховод. Благодаря специальному коническому переходнику каретки, который скользит между резиновыми уплотнениями вытяжного профиля, обеспечивается 100% удаление загрязненного воздуха из помещения.

Конструкция

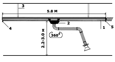
Вытяжная система состоит из рельса-воздуховода (секция из алюминиевого профиля длиной 5,8 м) с резиновыми уплотнителями, подвижной каретки, 4-х вертикальных монтажных опор, 2-х концевых ограничителей движения каретки, концевой заглушки и концевой заглушки с фланцем для подключения к вытяжной вентиляционной системе (диаметр соединительного патрубка 160 мм).

Вытяжные устройства заказываются дополнительно в требуемом количестве.

При необходимости, протяженность системы может быть легко увеличена за счет заказа дополнительного набора оборудования, которое включает в себя секции рельса-воздуховода требуемой длины (1-5 м), соединительные муфты для объединения рельса-воздуховода, монтажные опоры, концевые заглушки, монтажные фланцы для подключения секций рельса-воздуховода к вытяжной системе, а также дополнительные вытяжные устройства.

Крепление

Вытяжная система крепится к стене или к потолку.

Общий вид Сечение рельса
Чертеж вытяжной системы Сечение рельса-воздуховода

Примечание

1. Рельс-воздуховод и его сечение.

2. Монтажные опоры для крепления к потолку (4 шт. на секцию длиной 5,8 м).

3. Концевая заглушка.

4. Концевая заглушка с фланцем.

5. Резиновые уплотнения рельса.

НОВОСТИ И СОБЫТИЯ
26.05.2015 ВНИМАНИЕ!!!В связи с переездом изменились телефоны и адрес компании
05.03.2015 Приглашаем на выставку " Сварка и резка 2015!"
09.09.2014 Новинка: панель стационарная вытяжная «СВП-5000»
06.05.2014 Новинка: пресепаратор вертикальный «VPS»


RECLAMA