ЭкоТермент.Логотип
ЭкоТермент. Логотип
+375 17 33 66 333
+375 17 33 60 613

Пряморельсовая вытяжная система «STP»

 
Пряморельсовая вытяжная система STP
Производство: Вентиляционный завод «PlymoVent»
Гарантия: 24 месяца
Документы: Паспорта, Изображения
   
Назначение

Пряморельсовая вытяжная система представляет собой наиболее универсальное решение для удаления выхлопных газов от выхлопной трубы автомобиля, обеспечивающее свободу перемещения последнего по прямой внутри протяженного помещения.

Такая система необходима, в основном, для оборудования помещений автопредприятий, в которых с одной стороны въезд, а с другой выезд. Оборудовать помещение с одним въездом/выездом также возможно.

Функционирование

Сечение рельса-воздуховодаОсновой вытяжной системы является алюминиевый рельс-воздуховод круглого сечения (1). Рельс-воздуховод имеет продольный паз, который снабжен резиновыми уплотнителями (2).

Подвижная кареткаПо рельсу-воздуховоду, вслед за автомобилем, перемещается подвижная каретка (4), на которой закреплен вытяжной шланг (7) и балансир (5), поддерживающий шланг при помощи резиновой поддержки (6) в форме петли. Вытяжной шланг с газоприемной насадкой подключен к выхлопной трубе автомобиля. Щелевое сопло каретки скользит между резиновыми уплотнителями паза рельса-воздуховода и выбрасывает внутрь его удаляемые выхлопные газы.

Рельс-воздуховод при помощи концевой заглушки с переходником (3) или специального отвода подключается к воздуховоду, ведущему к вытяжному вентилятору. Работой вентилятора управляет аппарат автоматического контроля с датчиками давления. Датчики реагируют на повышение/понижение давления в рельсе за счет воздействия выхлопных газов и монтируются непосредственно в рельс. Оба торца рельса-воздуховода снабжаются концевыми заглушками (3) с резиновыми колодками, тормозящими каретку (на фото показана заглушка с переходником для подключения к вент. системе).

Для самостоятельного возврата каретки рельс-воздуховод монтируется под углом к полу в 15 град. Освободившаяся каретка возвращается к въезду в гараж под действием силы тяжести.

Конструкция

Основные узлы вытяжной системы:

  • Рельс-воздуховод (поставляется секциями длиной по 5,8 м и секциями заказной длины 1-5 м).
  • Резиновый уплотнитель (поставляется длиной, соответствующей выбранной протяженности рельсовой системы или каждой секции).
  • Соединительные элементы для стыковки секций рельса.

Основные узлы вытяжных устройств:

  • Каретка «IC» (фото выше, слева) перемещается внутри рельса-воздуховода и предназначена для работы с газоприемными насадками отсоединяемыми вручную, например, «REG».
  • Каретка «IСCA» перемещается внутри рельса-воздуховода и предназначена для работы с пневмозахватами «GRABBER», отсоединяемыми автоматически или вручную.
  • Внешняя каретка
  • Каретка «EC» (фото справа) перемещается снаружи рельса-воздуховода и предназначена для работы с газоприемными насадками отсоединяемыми вручную, например, «REC».
  • Каретка «ECCA» перемещается снаружи рельса-воздуховода и предназначена для работы с пневмозахватами «GRABBER», отсоединяемыми автоматически или вручную. Каретка собирается на базе каретки «EC» с помощью набора «ECCA-KIT».
  • Каретка «ECRA» перемещается снаружи рельса-воздуховода, снабжена баллоном для сжатого воздуха и предназначена для работы с пневмозахватами «GRABBER», отсоединяемыми автоматически или вручную. Каретка собирается на базе каретки «EC» с помощью набора «ECRA-KIT».

Примечание

1. Модель каретки, вытяжного шланга и газоприемной насадки выбирается в зависимости от мощности двигателей автотранспорта, который планируется обслуживать. Например, для авто с мощностью до 100 л.с. требуется вытяжной шланг диаметром 75 мм, что означает необходимость выбора соответствующей каретки и насадки.

2. Для работы с каретками «IСCA», «ECCA» требуется постоянная подача сжатого воздуха, для чего вдоль рельса-воздуховода натягивается трос «W-xx» на котором располагается спиральный пневмошланг «CA-xx», растягивающийся вслед за перемещением каретки. Кроме того, необходим накопительный узел «STR-MZ».

3. Набор «HPA», включающий вытяжной шланг «EH-PV» длиной 6 м, пневмозахват «GRABBER» и пр. принадлежности, применяется с каретками «IСCA», «ECCA», «ECRA». Для работы системы необходим источник сжатого воздуха.

Крепление вытяжной системы:

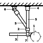
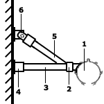
  • Комплект крепления рельса (1) к стене состоит из боковой опоры (3), опорной трубы (5), а также монтажных муфт (2), опор (4) и (6).
  • Комплект крепления рельса (1) к потолку состоит из боковой опоры (3), опорной трубы (5), а также монтажных муфт (2) и (7), опор (4) и (6).

Крепление к стенеКрепление к потолку

Типовая конфигурация

Во всех случаях для проектирования вытяжной системы необходимо учесть особенности оборудоваемого помещения, возможности крепления, расположения рабочих мест, пути перемещения и вид автотранспорта с которым производятся работы.

Помещение обладает въездом и выездом:

  • Экономичное решение - вытяжная система с газоприемными насадками, отсоединяемыми от выхлопной трубы вручную. Она может быть смонтирована под углом к полу для возврата каретки к въезду - возможно с каретками «IC», «EC».
  • Вытяжная система для эксплуатации с пневмозахватами, отсоединяемыми от выхлопной трубы автоматически. Она может быть смонтирована под углом к полу для возврата каретки к въезду - возможно с каретками «ICCA», «ECCA», «ECRA».
Помещение обладает одним въездом/выездом:
  • Вытяжная система с газоприемными насадками или пневмозахватами, отсоединяемыми вручную. В этой системе могут применяться каретки «IC», «EC».
  • Вытяжная система с пневмозахватами, отсоединяемыми от выхлопной трубы автоматически. В этой системе могут применяться каретки «ICCA», «ECCA».

Примечание

1. Приведенный перечень узлов системы и вариантов ее построения не является полным. Подробный перечень узлов и их назначение Вы найдете в прайс-листе, а за консультацией обращайтесь, пожалуйста, к специалистам фирмы.

2. Система предлагается в виде стандартных комплектов всего необходимого для своего построения оборудования, что избавляет Заказчика от сложного проектирования, расчета и подбора оборудования.

НОВОСТИ И СОБЫТИЯ
26.05.2015 ВНИМАНИЕ!!!В связи с переездом изменились телефоны и адрес компании
05.03.2015 Приглашаем на выставку " Сварка и резка 2015!"
09.09.2014 Новинка: панель стационарная вытяжная «СВП-5000»
06.05.2014 Новинка: пресепаратор вертикальный «VPS»


RECLAMA