ЭкоТермент.Логотип
ЭкоТермент. Логотип
+375 17 33 66 333
+375 17 33 60 613

Пряморельсовая вытяжная система «STR»

 
Пряморельсовая вытяжная система STR
Производство: Вентиляционный завод «PlymoVent»
Гарантия: 24 месяца
Документы: Паспорта, Изображения
   
Назначение

Пряморельсовая вытяжная система специально предназначена для оборудования протяженных гаражей пожарных станций, станций скорой помощи, гаражей МЧС или воинских частей, которая позволяет удалять выхлопные газы от выхлопной трубы автомобиля, обеспечивая свободу перемещения последнего внутри помещения.

Такая система применяется для гаражей, в которых автомобили паркуются в колонну и обязательно комплектуется средствами автоматического отсоединения газоприемной насадки от выхлопной трубы автомобиля, при выезде последнего из гаража на экстренный вызов.

Максимальное количество автомашин в колонне 4, при общей протяженности колонны - не более 30 метров. Выхлопная труба должна располагаться сбоку или сзади в нижней части автомобиля.

Функционирование

Сечение рельса-воздуховодаОсновой вытяжной системы является алюминиевый рельс-воздуховод круглого сечения (1). Рельс-воздуховод имеет продольный паз, который снабжен резиновыми уплотнителями (2).

Подвижная кареткаПо рельсу-воздуховоду, вслед за автомобилем, перемещается подвижная каретка (4), на которой закреплен вытяжной шланг (7) и балансир (5), поддерживающий этот шланг при помощи резиновой поддержки (6) в форме петли. Вытяжной шланг с газоприемной насадкой подключен к выхлопной трубе автомобиля. Щелевое сопло каретки скользит между резиновыми уплотнителями паза рельса-воздуховода и выбрасывает внутрь его удаляемые выхлопные газы.

Рельс-воздуховод при помощи концевой заглушки с переходником (3) или специального отвода подключается к воздуховоду, ведущему к вытяжному вентилятору. Работой вентилятора управляет аппарат автоматического контроля с датчиками давления. Датчики реагируют на повышение/понижение давления в рельсе за счет воздействия выхлопных газов, и монтируются непосредственно в рельс (на один больше кол-ва установленных кареток). Оба торца рельса-воздуховода снабжаются концевыми заглушками (3) с резиновыми колодками, тормозящими каретку (на фото показана заглушка с переходником для подключения к вент. системе).

Конструкция

Основные узлы вытяжной системы:

  • Рельс-воздуховод (поставляется секциями длиной по 5,8 м и секциями заказной длины 1-5 м).
  • Резиновый уплотнитель (поставляется длиной, соответствующей выбранной протяженности рельсовой системы или каждой секции).
  • Соединительные элементы для стыковки секций рельса.

Основные узлы вытяжных устройств:Внутренняя каретка

  • Каретка «ECCA» перемещается снаружи рельса-воздуховода и предназначена для работы с пневмозахватами «GRABBER», отсоединяемыми автоматически или вручную. Каретка собирается на базе каретки «EC» с помощью набора «ECCA-KIT».
  • Набор «HPA», включающий вытяжной шланг «EH-PV» длиной 6 м, пневмозахват «GRABBER» и пр. принадлежности.

Примечание

1. Модель каретки и набора «HPA» выбирается в зависимости от автотранспорта, который предполагается обслуживать. Например, для автотранспорта с мощностью двигателя до 150 л.с. требуется вытяжной шланг диаметром 100 мм, что означает необходимость выбора соответствующего набора.

2. Для работы с каретками «IСCA» требуется постоянная подача сжатого воздуха, для чего вдоль рельса-воздуховода натягивается трос «W-xx» на котором располагается спиральный пневмошланг «CA-xx», растягивающийся вслед за перемещением каретки. Кроме того, необходим накопительный узел «STR-MZ» (фото выше, справа). Для каждой каретки необходим собственный шланг подачи сжатого воздуха, в то время как для системы с 4-мя каретками необходимо всего две системы поддержки пневмошланга.

Крепление вытяжной системы:

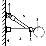
  • Комплект крепления рельса (1) к стене состоит из боковой опоры (3), опорной трубы (5), а также набора монтажных муфт (2), опор (4) и (6).
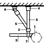
  • Комплект крепления рельса (1) к потолку состоит из боковой опоры (3), опорной трубы (5), а также набора монтажных муфт (2) и (7), опор (4) и (6).

Крепление к стенеКрепление к потолку

Основы проектирования вытяжной системы

Во всех случаях для проектирования вытяжной системы необходимо учесть особенности оборудоваемого помещения, возможности крепления, расположения рабочих мест, пути перемещения, количество и вид автотранспорта в колонне с которым производятся работы.

Каждая колонна гаража снабжается собственной рельсовой системой необходимой протяженности, а автотранспорт в таком гараже должен заезжать задом.

Эскиз гаража

На рисунке схематично изображен гараж небольшой протяженности, который рассчитан на парковку в 3 колонны по одной машине в каждой. Каждая колонна оборудована рельсовой системой, которая подключена к коллектору центральной вытяжной вентиляции. На эскизе указаны: рельс-воздуховод (1), поддержка шланга подачи сжатого воздуха (2), соединительный воздуховод (3).

Примечание

1. Приведенный перечень узлов системы и вариантов ее построения не является полным. Подробный перечень узлов и их назначение Вы найдете в прайс-листе, а за консультацией обращайтесь, пожалуйста, к специалистам фирмы.

2. Система предлагается в виде стандартных комплектов всего необходимого для своего построения оборудования, что избавляет Заказчика от сложного проектирования, расчета и подбора оборудования.

НОВОСТИ И СОБЫТИЯ
26.05.2015 ВНИМАНИЕ!!!В связи с переездом изменились телефоны и адрес компании
05.03.2015 Приглашаем на выставку " Сварка и резка 2015!"
09.09.2014 Новинка: панель стационарная вытяжная «СВП-5000»
06.05.2014 Новинка: пресепаратор вертикальный «VPS»


RECLAMA